杭州溢价成交3宗宅地:华润39.51亿元竞得滨江区地块,溢价率46.83%

来源:澎湃新闻2026-04-09 09:31

4月8日,杭州迎来3宗涉宅用地出让。根据成交结果,3宗地块均以溢价成交,最高溢价率超46%,共计收金约58.62亿元。

此次出让的3宗地块分别位于滨江区、余杭区、钱塘区,总土地出让面积为120987平方米,总规划建筑面积232165.15平方米,总起始价44.82亿元。

其中,杭政储出[2026]9号即滨江区襄七房单元FG04-R21-B22地块,该地块东至网商路,南至滨康路,西至空地,北至江二路。用地性质为住宅(设配套公建)用地,土地出让面积38442平方米,规划建筑面积96105平方米,容积率2.5,起始价约26.91亿元,起始楼面价27997元/平方米。

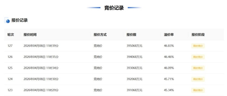
据中指研究院监测,该地块吸引了大家、滨江、绿城、保利发展、中海、华润等多家房企参与竞拍,在经过127轮竞价后,由华润置地旗下上海泓喆房地产开发有限公司以总价约39.51亿元竞得,成交楼面价41108元/平方米,溢价率46.83%,刷新板块地价纪录。

中指研究院华东大区常务副总高院生指出,该地块地处滨江互联网产业核心地带,交通便捷近5号线聚才路,周边集聚网易、阿里、华为等高新技术企业,具有极强的高端产业客群基础,且区域周边已供地空窗达5年,无存量可售,是本次土拍竞争最为激烈的一宗地块。地块周边2公里范围内目前无在售新房项目,对标周边的次新房晓月映翠、保利天汇项目价格,判断未来售价有望超6万元/平方米。

此次出让的另一宗地块为杭政储出[2026]10号即余杭区闲林单元YH120201-01地块,该地块东至公园绿地,南至怡景路,西至高教路,北至防护绿地。用地性质为住宅(设配套公建)用地,土地出让面积37235平方米,规划建筑面积39096.75平方米,容积率1.05,起始价5.02亿元,起始楼面价12840元/平方米。

该地块经过23轮竞价后,由保亿置业旗下杭州保亿亿航商业控股有限公司以总价6.12亿元竞得,成交楼面价15654元/平方米,溢价率21.91%。

高院生认为,与周边低密项目相比,2024年底出让的溪径恒庐项目(成交楼面价16112元/平方米)整盘均价在4万元/平方米以上,此次位置更优,成交楼面价更低,预计会有较大的盈利空间。

另有一宗地块则以低溢价成交。杭政储出[2026]11号地块即钱塘区东部湾新城单元QT020303-05地块,该地块东至规划道路,南至10号大街,西至规划道路,北至规划道路。用地性质为住宅、商业服务业用地,土地出让面积45310平方米,规划建筑面积96963.40平方米,容积率2.14,起始价12.89亿元,起始楼面价13293元/平方米。

该地块经过2轮竞价后,由杭州兴耀房地产开发集团有限公司、杭州滨钰房地产开发有限公司(兴耀房产和滨江集团)以总价12.99亿元竞得,成交楼面价13396元/平方米,溢价率0.78%。

高院生指出,今日首场土拍以30.8%的平均溢价率为二季度奠定积极基调。4月全月杭州计划进行4场土拍,共出让11宗涉宅地,总起价93.36亿元,区域覆盖滨江、拱墅、西湖、萧山等8个城区,后续市场热度能否从核心板块向外围扩散,将是观察杭州楼市复苏成色的关键。

  • 一线城市2026年商品住宅供地计划全线收缩 业内:预判未来两年内仍将维持低位

    每经记者|陈荣浩 每经编辑|魏官红 随着上海市规划和自然资源局公布2026年土地供应计划,四大一线城市2026年供地计划已全部发布完毕。 从1月20日北京率先官宣,到广州、深圳、上海的相关计划陆续
    每日经济新闻
    2026-04-09 09:35
  • 中介“整个假期都在忙” !香港新房市场热度高“大手客”增多

    “整个清明假期,我都在香港辅助同事的业务,不少内地客户去看房买房,我这边也成交了一套。”在罗湖口岸,记者见到刚刚从香港回深圳的付经理,他是附近一家房产中介门店的资深经理,常常往返深港两地。 “从去年
    证券时报网
    2026-04-09 09:34
  • 房企高度重视“优质地块” 土拍市场热度有望持续

    今年一季度,全国土拍市场在保持一定的热度背景下分化态势延续,房企资金继续向确定性较强的优质资产集聚。进入4月,核心城市优质地块供给持续释放,土拍市场的活跃度有望延续。 中指研究院最新发布的数据显示,
    证券时报网
    2026-04-09 09:33
  • 杭州土拍热度回升!4月重点城市土拍活跃度有望延续

    4月8日,杭州有3宗涉宅用地出让,最终均溢价成交,最高溢价率达46.83%,平均溢价率30.8%,总成交金额58.62亿元。 业内人士认为,此次成交表现呈现“核心高热、外围平稳”的显著分化特征,杭州
    证券时报网
    2026-04-09 09:32
  • 杭州溢价成交3宗宅地:华润39.51亿元竞得滨江区地块,溢价率46.83%

    4月8日,杭州迎来3宗涉宅用地出让。根据成交结果,3宗地块均以溢价成交,最高溢价率超46%,共计收金约58.62亿元。 此次出让的3宗地块分别位于滨江区、余杭区、钱塘区,总土地出让面积为120987
    澎湃新闻
    2026-04-09 09:31
  • 杭州土拍热度回升 华润置地46.83%高溢价落子滨江

    证券日报网记者 陈潇 杭州土地市场迎来回暖信号。4月8日,杭州成功出让3宗涉宅地,总成交金额58.62亿元,平均溢价率达30.8%。 中指研究院华东大区常务副总高院生向《证券日报》记者表示,一季度
    证券日报网
    2026-04-09 09:30
  • 浙江省“双碳”引领公共机构 全面绿色转型发展工作部署会在温州举行

    4月8日至9日,浙江省“双碳”引领公共机构全面绿色转型发展工作部署会在温州举行。 “十四五”以来,浙江省机关事务管理局坚定扛起公共机构节能主管部门责任担当,以“走前列、作示范”的标准定位,推动公共机
    环球网
    2026-04-10 17:07
  • 自然造化的“上古青花”:树化冷凝青花瓷 解码白垩纪地质密码

    无需人工窑火淬炼,无需匠人丹青勾勒,在人类发明青花瓷的数千万年前,地球已以洪荒之力,孕育出一种天然的“上古青花瓷”——树化冷凝青花瓷,其学名为瓷化蛋白石。这种兼具木魂、玉骨、瓷韵的珍稀地质遗存,作为树
    环球网
    2026-04-10 14:31
  • 京蒙零碳智慧算力产业园的工程实践

    随着人工智能、大模型等数字技术爆发式发展,全社会对算力的需求呈现指数级增长。数据中心作为算力的物理承载,正面临前所未有的挑战:单机柜功率密度从传统的4-8kW向20kW、50kW甚至更高迈进,传统风冷
    环球网
    2026-04-10 11:51
  • 多地持续优化住房公积金政策

    证券日报记者 张芗逸 4月8日,广西来宾市住房公积金管理中心发布《关于进一步调整优化住房公积金政策支持缴存人住房消费的通知》(以下简称《通知》),提出支持多元化住房消费提取、优化房屋套数认定标准等多
    证券日报
    2026-04-10 09:41
  • 武汉调整公积金政策:支持危旧房改造,取消存量房贷款房龄限制

    央广网北京4月10日消息(记者门庭婷)近日,武汉住房公积金管理中心发布关于优化住房公积金使用政策的通知,涉及支持危旧住房改造、优化存量房贷款比例、扩大异地贷款范围、调整贷款套数认定四个方面。 一是支
    央广网
    2026-04-10 09:32
  • 稳楼市政策精准发力 京沪二手房率先回暖

    证券日报网记者 张芗逸 在“着力稳定房地产市场”的政策引领下,各地因城施策控增量、去库存、优供给,持续优化房地产市场调控政策。在政策加码、价格调整、预期修复等因素的共同作用下,2026年第一季度,房
    证券日报网
    2026-04-10 09:32
  • 仲量联行:一季度北京办公楼市场租金呈结构性分化态势

    证券日报网讯 仲量联行近日发布的报告显示,今年一季度,北京办公楼市场整体需求持续走弱,租金延续结构性分化态势。投资市场整体活跃度较低,但零售及租赁住房类资产比较受关注。零售地产整体需求动能依然偏弱,科
    证券日报网
    2026-04-10 09:31
  • 中国金茂连落七子 一季度精准补仓

    3月31日,一季度土拍市场大幕落下。中国金茂当日于青岛、成都两地落子,为一季度土地拓展画上圆满句号。今年以来,中国金茂持续聚焦核心城市,密集补仓优质土储,先后在上海、西安、成都等7个核心城市获取7宗优
    环球网
    2026-04-08 18:05
  • 智造“好房子” 揭秘旧改科技密码

    近日,首开复建区5栋住宅楼已实现全面封顶,崭新的外立面在阳光下熠熠生辉,在中交第四航务工程局有限公司(以下简称中交四航局)承建的黄埔珠江村旧村改造项目现场,高品质宜居社区正逐步呈现。与传统建筑工地不同
    环球网
    2026-04-08 15:09
  • 以赛育才筑健康人居防线 “希望树·住安”杯行业技能比武竞赛落幕

    4月2日,由沪苏浙皖四地室内环境净化行业协会联合主办、上海希望树环保科技有限公司总冠名的“希望树·住安”杯第九届中国长三角室内环境治理行业技能比武竞赛成功举行。赛事以“净界无界·技向未来”为主题,汇聚
    环球网
    2026-04-08 11:02
  • 菲林格尔因多项违规被责令改正

    【环球网综合报道】4月3日,菲林格尔发布公告,公司及相关人员收到上海证监局出具的《关于对菲林格尔家居科技股份有限公司采取责令改正措施并对有关责任人员采取出具警示函措施的决定》。 公告显示,经查,菲林
    环球网
    2026-04-08 10:32
  • “铜师傅”在香港交易所挂牌上市

    【环球网综合报道】3月31日,来自浙江杭州建德市的铜师傅,成功在香港联合交易所主板挂牌上市。 铜师傅此次IPO全球发售740.68万股H股(占发行完成后总股份的约11.50%),每股下限定价60.0
    环球网
    2026-04-08 10:30
  • 深圳:闲置商业办公等非居住建筑可改公共服务设施等

    央广网北京4月8日消息(记者门庭婷)4月7日,深圳市规划和自然资源局、深圳市住房和建设局发布《深圳市既有非居住建筑物功能转换实施办法》的通知。 哪些既有非居住房屋可申请用途转换?根据办法,商业、办公
    央广网
    2026-04-08 09:39
  • 城市更新跑出“加速度”

    证券日报记者 张芗逸 近期,湖北多地将“住房和城乡建设局”更名为“住房和城市更新局”的话题引发市场广泛关注。从“建设”到“更新”,折射出城市动能转换的路径之变。 上海易居房地产研究院副院长严跃进在
    证券日报
    2026-04-08 09:39